一、LZW-10、LZW-12戶外電流互感器概述與型號含義
LZW-10、LZW-12戶外電流互感器為戶外環氧樹脂澆注全封閉式結構,供額定頻率為50Hz,額定電壓為10KV及以下電力系統中作電流、電能測量和繼電保護用;具有耐電弧,耐老化,耐紫外線,使用壽命長等特點。LZW-10(12) 型電流互感器為電工級環氧樹脂整體澆注成型、全封閉結構,由于采用電工級環氧樹脂澆注,產品具有體積小、重量輕絕緣強度高、耐潮濕、免維護等特點。產品符合IEC60044-1及GB1208《電流互感器》標準。

二、LZW-10、LZW-12戶外電流互感器技術參數
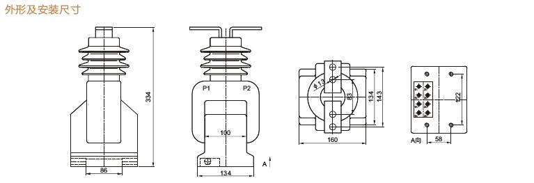
三、LZW-10、LZW-12戶外電流互感器產品外形及安裝尺寸
四、LZW-10、LZW-12戶外支柱式電流互感器使用條件
1.安裝場所:戶外
2.環境溫度 -25℃~+40℃的范圍內,空氣濕度不大于85%;
3.海拔:海拔3000米以下使用;
4.污穢等級;IV級,安裝場所無腐蝕性的氣體
本型電流互感器全封閉、支柱式結構。進口戶外樹脂,全真空澆注,使產品具有耐紫外線、大爬距結構、抗凝露的特征;該產品采用超導磁材料,使產品在高精度下,能有大的動、熱穩定電流承載能力,局部放電小的特性。產品具有計量、監控、保護多二次繞組;也可根據用戶要求制造二次抽頭,多電流比的產品;產品具有體積小,安裝方便的特點。
六、LZW-10、LZW-12戶外支柱式電流互感器參數說明
電流互感器銘牌標志型號由以下幾部分組成,各部分字母,符號表示內容:第一字母:L—電流互感器
第二字母:A—穿墻式;Z—支柱式;M—母線式;D—單匝貫穿式;V—結構倒置式;J—零序
接地檢測用;W—抗污穢;R—繞組裸露式
第三字母:Z—環氧樹脂澆注式;C—瓷絕緣;Q—氣體絕緣介質;W—與微機保護專用
第四字母:B—帶保護級;C—差動保護;D—D級;Q—加強型;J—加強型ZG
第五數字:電壓等級 產品序號
七、LZW-10、LZW-12戶外電流互感器主要技術要求
電流互感器額定容量:額定二次電流通過二次額定負荷時所消耗的視在功率。額定容量可以用視在功率V.A表示,也可以用二次額定負荷阻抗Ω表示。
電流互感器一次額定電流:允許通過電流互感器一次繞組的用電負荷電流。用于電力系統的電流互感器一次額定電流為5~25000A,用于試驗設備的精密電流互感器為 0.1~50000A。電流互感器可在一次額定電流下長期運行,負荷電流超過額定電流值時叫做過負荷,電流互感器長期過負荷運行,會燒壞繞組或減少使用壽命。
電流互感器二次額定電流:允許通過電流互感器二次繞組的一次感應電流。
電流互感器額定電流比(變比):一次額定電流與二次額定電流之比。
電流互感器額定電壓:一次繞組長期對地能夠承受的最大電壓(有效值以kV為單位),應不低于所接線路的額定相電壓。電流互感器的額定電壓分為0.5,3,6,10,35,110,220,330,500kV等幾種電壓等級。
電流互感器10%倍數:在指定的二次負荷和任意功率因數下,電流互感器的電流誤差為-10%時,一次電流對其額定值的倍數。10%倍數是與繼電保護有關的技術指標。
電流互感器準確度等級:表示互感器本身誤差(比差和角差)的等級。電流互感器的準確度等級分為0.001~1多種級別,與原來相比準確度提高很大。用于發電廠、變電站、用電單位配電控制盤上的電氣儀表一般采用0.5級或0.2級;用于設備、線路的繼電保護一般不低于1級;用于電能計量時,視被測負荷容量或用電量多少依據規程要求來選擇(見第一講)。
電流互感器比差:互感器的誤差包括比差和角差兩部分。比值誤差簡稱比差,一般用符號f表示,它等于實際的二次電流與折算到二次側的一次電流的差值,與折算到二次側的一次電流的比值,以百分數表示。
電流互感器角差:相角誤差簡稱角差,一般用符號δ表示,它是旋轉180°后的二次電流向量與一次電流向量之間的相位差。規定二次電流向量超前于一次電流向量δ為正值,反之為負值,用分(’)為計算單位。
電流互感器熱穩定及動穩定倍數:電力系統故障時,電流互感器受到由于短路電流引起的巨大電流的熱效應和電動力作用,電流互感器應該有能夠承受而不致受到破壞的能力,這種承受的能力用熱穩定和動穩定倍數表示。熱穩定倍數是指熱穩定電流1s內不致使電流互感器的發熱超過允許限度的電流與電流互感器的額定電流之比。動穩定倍數是電流互感器所能承受的最大電流瞬時值與其額定電流之比。
八、戶外電流互感器相關產品推薦
LZW-10戶外電流互感器 LZW-12戶外電流互感器 LZZBJ71-35戶外電流互感器 LZZBW-10戶外電流互感器 LZZW-10Q戶外電流互感器 LZW2-35GY戶外電流互感器
九、浙江中拓戶外電流互感器產品選型
LZZBJ12-10A、B、C LZZB-10 LZZBJ9-10A1G、B1、C1
LZZB9-24/220b/2 LZZBW-10(12) LZZBJ4-35
LZZB9-35D LZZB7-35 LZZBW-10(12)
十、浙江中拓高壓戶外電流互感器公司簡介
浙江中拓高壓電器有限公司是一家主要從事研發、生產銷售110kV及以下戶內外高低壓互感器,鐵芯、絕緣件的專業廠家。公司的10-35kV戶內外互感器,銷遍全國各地,遠銷海外多個國家和地區,深受廣大用戶信賴和好評,10kV真空斷路器用互感器已成為國內柱上開關生產企業最優選擇合作單位。2007年自主研發的主推產品LZW32-10(12)型戶外保護用電流互感器,是目前國內同類型配套互感器主要生產商。